電話:0373-2651333 2652333
傳真:0373-5078292
投訴:18603801155(24小時)
郵箱:info@hnqianhe.com
地址:河南省新鄉市高新區火炬園綜合研發樓

一、產品概述
重錘式料位計用于監測料斗、筒倉、儲罐等容器內粉末、顆粒和液體高度或近似重量的實時測量。它通過直接測量頂部無料空間距離,間接達到測量料層內物料高度的目的,并且可以根據不同的工況選擇配置各種法蘭、重錘及操作界面或遠程通訊等,實現了人性化、科學化、合理化的設計宗旨。其中QHYC-Ⅰ系列用于冶金行業的料位測量,QHLC-Ⅰ系列用于糧油加工業的料位測量。
二、工作原理
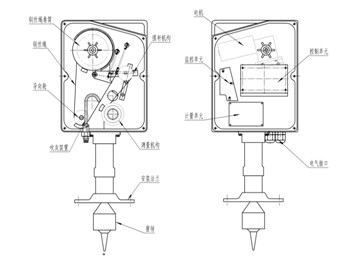
重錘式料位計的主要部件有:重錘、安裝法蘭、測量機構、吹灰裝置、導向輪、鋼絲繩、鋼絲繩卷筒、擺桿機構、控制單元、電機、測控單元、計量單元和電氣接口。

傳感器接到探測命令時,電機正轉,經減速機構后帶動繞線筒轉動,鋼纜下放,重錘跟隨其下降,當重錘降至料面時被料面托起而失重,鋼絲繩松馳,靈敏杠桿動作使霍爾元件動作,并將位置信號傳遞給控制器,控制器得到該信號后立即發出電機反轉命令,重錘隨鋼絲繩上升返回,直到重錘回到倉頂原始位置,電機停轉,完成一次探測過程。 并以4—20mA電流信號、標準的MODBUS串行通訊方式、干接點三種方式傳輸給DCS系統或外置顯示單元料位及報警信號。
三、技術參數
◆ 供電電壓: 220 V±10%AC, 50 Hz
◆ 功率消耗: 15VA 連續, 40 VA 間歇
◆ 環境溫度: -40° F to 150° F (-40° C to 65° C)
◆ 介質溫度: 小于130°C
◆ 測量范圍: 46.9 m
◆ 測量速度: 0.26 m/s
◆ 精 度: <測量距離的0.25%
◆ 重 復 性: 20 mm
◆ 分 辨 率: 3.5mm
◆ 鋼 纜: 1.0mm (123kg 張力)
◆ 重錘重量:0.89Kg
四、接線方式

五、外形尺寸與安裝方法

1、重錘料位計應當安裝在偏離物料裝料入口的位置。料位計最佳安裝位置應距裝料入口至少1.2米遠。距離容器側壁也應盡可能遠,至少為1米。
2、重錘料位計可安裝在大多數容器的頂部。料位計必須安裝在法蘭上并確保鉛錘自然垂直,從而讓測錘/鋼纜裝置直接下墜。容器頂部若非水平必須先焊上一節鋼管,使法蘭能成水平安裝。上下法蘭間需加墊片確保兩法蘭間的密封性良好。
六、應用案例
1、白灰窯窯頂料位測量
2、面粉廠散粉倉料位測量